
Telesne postihnuté osoby a ľudia so zníženou schopnosťou pohybu potrebujú pre bezpečný pohyb v kúpeľni špeciálne upravenú sanitu. Takéto vybavenie kúpeľne zabezpečuje hendikepovaným ľudom či seniorom jednoduchší pohyb a manipuláciu v kúpeľni. Každý detail v návrhu a vybavení kúpeľne môže mať zásadný vplyv na kvalitu života a samostatnosť jedincov s obmedzenou mobilitou. Cieľom je vytvoriť priestor, ktorý je nielen funkčný, ale predovšetkým bezpečný a pohodlný, minimalizujúc tak akékoľvek bariéry a zvyšujúc sebestačnosť.
Štandardné vs. Bezbariérové WC: Kľúčové Rozdiely a Výhody
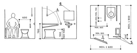
Neoddeliteľnou súčasťou bezbariérovej kúpeľne je stojace WC so zvýšenou výškou alebo závesné WC s predĺženou dĺžkou, ktoré uľahčuje presun z invalidného vozíka. Tradičné toalety, často navrhnuté bez ohľadu na špecifické potreby, môžu predstavovať značnú prekážku pre osoby s pohybovými ťažkosťami. Zvýšená výška keramiky, ktorá je typická pre bezbariérové WC, znižuje potrebnú námahu pri presune z invalidného vozíka alebo pri vstávaní a sadaní. Predĺžená dĺžka misy zase poskytuje dodatočný priestor pre manévrovanie a bezpečné umiestnenie invalidného vozíka v bezprostrednej blízkosti toalety. Tieto dizajnové prvky nie sú len o pohodlí, ale predovšetkým o podpore autonómie a dôstojnosti.

Bezbariérové WC z blumio.sk sú navrhnuté pre maximálnu prístupnosť a bezpečnosť v kúpeľni. Tieto toalety sú ideálne pre osoby s obmedzenou pohyblivosťou alebo pre starších ľudí, ktorí potrebujú dodatočnú podporu pri používaní WC. Dôraz na ergonómiu a špecifické rozmery znamená, že tieto produkty boli vyvinuté s hlbokým pochopením každodenných výziev, ktorým čelia ľudia s obmedzenou mobilitou. Každý aspekt, od výšky sedadla po tvar misy, je optimalizovaný pre ľahké a bezpečné používanie.
Inovatívne Riešenia pre Prístup k Umývadlu
Pre jednoduchší prístup k umývadlu s invalidným vozíkom nájdete v našej ponuke zdravotné umývadlá. Tieto umývadlá sú špeciálne navrhnuté s ohľadom na priestorové nároky invalidných vozíkov. Ich konštrukcia často umožňuje dostatočný priestor pod umývadlom, aby sa invalidný vozík mohol pohodlne priblížiť, čo umožňuje priamy kontakt a jednoduchšiu manipuláciu. Okrem toho môžu mať tieto umývadlá aj špecificky tvarované okraje, ktoré uľahčujú opieranie rúk a predchádzajú nepríjemným nárazom.
Add "life to years" through healthy ageing
K týmto umývadlám doporučujeme použiť špeciálne upravenú umývadlovú batériu pre telesne postihnutých. Tieto batérie často disponujú dlhšími pákami alebo tlačidlami, ktoré sa dajú ľahko ovládať jednou rukou alebo aj lakťom, čo je nevyhnutné pre osoby s obmedzenou silou v rukách alebo s problémami s jemnou motorikou. Niektoré modely môžu byť aj termostatické, čo zabraňuje náhodnému obareniu a zvyšuje celkovú bezpečnosť používania. Všetky tieto prvky sú navrhnuté tak, aby znižovali závislosť od pomoci druhých a podporovali nezávislosť v každodenných činnostiach.
Materiály a Dizajn: Spojenie Odolnosti a Estetiky
Naše WC misy sú navrhnuté s ohľadom na potreby osôb s obmedzenou mobilitou, ponúkajú zvýšenú výšku a prispôsobenú ergonómiu pre jednoduché používanie. Vyrobené z odolných materiálov a s dôrazom na bezpečnosť, tieto WC sú ideálne do domácností, ale aj do zdravotníckych a opatrovateľských zariadení. Výber materiálov ako je kvalitná keramika alebo odolné plasty je kľúčový pre dlhú životnosť a jednoduchú údržbu. Hladké povrchy minimalizujú usadzovanie nečistôt a uľahčujú dezinfekciu, čo je dôležité predovšetkým v zdravotníckych zariadeniach. Estetika nie je v tomto prípade druhoradá; moderné bezbariérové kúpeľne môžu byť rovnako štýlové a príjemné ako akékoľvek iné, pričom plnia svoje špecifické funkcie.

Dizajn bezbariérových WC sa zameriava nielen na funkčnosť, ale aj na integráciu do celkového vzhľadu kúpeľne. S rastúcim dopytom po inkluzívnych priestoroch sa výrobcovia čoraz viac zameriavajú na estetické aspekty, čím umožňujú vytvoriť kúpeľňu, ktorá je nielen praktická, ale aj vizuálne príťažlivá. Tento prístup zabezpečuje, že bezbariérové riešenia nie sú vnímané ako kompromis, ale ako plnohodnotná a dizajnovo premyslená súčasť modernej domácnosti alebo zariadenia.
Poradenstvo a Dostupnosť: Naši Experti sú tu pre Vás
Poradíme s výberom, preveríme dostupnosť. Výber správneho vybavenia pre bezbariérovú kúpeľňu môže byť komplexný proces. Odborné poradenstvo je preto neoceniteľné. Naši špecialisti vám pomôžu zhodnotiť individuálne potreby, zohľadniť priestorové možnosti a rozpočet, a navrhnúť optimálne riešenia. Tieto riešenia môžu zahŕňať nielen samotné WC a umývadlo, ale aj vhodné madlá, sprchové kútiky, protišmykové podlahy a ďalšie prvky, ktoré prispievajú k celkovej bezpečnosti a komfortu.

Overenie dostupnosti produktov je rovnako dôležité, aby sa zabezpečilo, že požadované vybavenie bude k dispozícii v primeranom čase. Cieľom je poskytnúť zákazníkom nielen kvalitné produkty, ale aj komplexný servis, ktorý uľahčí celý proces od výberu až po inštaláciu. Týmto spôsobom sa snažíme zabezpečiť, aby bezbariérové kúpeľne spĺňali najvyššie štandardy funkčnosti, bezpečnosti a spokojnosti užívateľa.
Široké Spektrum Aplikácií: Od Domácností po Zdravotnícke Zariadenia
Naše WC misy sú navrhnuté s ohľadom na potreby osôb s obmedzenou mobilitou, ponúkajú zvýšenú výšku a prispôsobenú ergonómiu pre jednoduché používanie. Vyrobené z odolných materiálov a s dôrazom na bezpečnosť, tieto WC sú ideálne do domácností, ale aj do zdravotníckych a opatrovateľských zariadení. V domácnostiach pomáhajú bezbariérové riešenia udržať si nezávislosť a dôstojnosť starším členom rodiny alebo osobám po úraze či operácii. V zdravotníckych a opatrovateľských zariadeniach sú tieto produkty nevyhnutnosťou, ktorá zabezpečuje štandardnú starostlivosť a minimalizuje riziko úrazov pacientov.

Okrem špecifických potrieb osôb s trvalým postihnutím alebo seniorov, bezbariérové vybavenie kúpeľní nachádza uplatnenie aj u osôb s dočasným obmedzením pohybu, napríklad po operácii alebo nehode. Detské verzie umývadiel a toaliet s nižšou výškou môžu byť tiež súčasťou širšieho konceptu inkluzívneho dizajnu, ktorý zohľadňuje potreby všetkých používateľov bez ohľadu na vek či fyzické schopnosti. Tento univerzálny prístup k dizajnu zabezpečuje, že priestory sú prístupné a bezpečné pre čo najširšiu škálu ľudí.
Zabezpečenie Komfortu a Bezpečnosti: Priorita v Každom Detaily
Zaistite komfort a bezpečnosť v kúpeľni s bezbariérovými WC od blumio.sk. Tieto toalety sú ideálne pre osoby s obmedzenou pohyblivosťou alebo pre starších ľudí, ktorí potrebujú dodatočnú podporu pri používaní WC. Všetky produkty sú starostlivo navrhnuté a testované tak, aby spĺňali najprísnejšie bezpečnostné normy. Použitie protišmykových materiálov, zaoblených hrán a robustných upevňovacích prvkov sú samozrejmosťou. Dôraz na detail znamená, že aj malé prvky ako sú tlačidlá splachovania, sú navrhnuté tak, aby boli ľahko dostupné a ovládateľné.

Integrácia bezbariérových prvkov do kúpeľne nie je len otázkou dodatočného vybavenia, ale komplexného prístupu k dizajnu, ktorý kladie dôraz na ľudskú dôstojnosť a autonómiu. S rastúcim porozumením pre potreby rôznych skupín obyvateľstva sa bezbariérové riešenia stávajú štandardom, ktorý by mal byť dostupný pre všetkých. Investícia do bezbariérového vybavenia je investíciou do kvality života, bezpečnosti a nezávislosti.